267071 внешний датчик, кабель 1м

267071 внешний датчик, кабель 1м
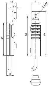
Внешний датчик можно свободно расположить в любом месте шкафа для точного измерения температуры и влажности.
Датчик к нагревателям DCR 030 и DCR 130.

Габаритные размеры

размеры терморегулятора

Сайт использует рекомендательные технологии и файлы cookie